On April 3, 2014, Eagle Parts & Products, Inc. of Augusta, Georgia (“Eagle”) filed a complaint against Allshields, Inc. of Raleigh, North Carolina (“Allshields”) alleging infringement of U.S. Patent No. 7,380,860 (“the ‘860 patent”) for a “windshield fastening device.”
According to the complaint, Eagle is a leading manufacturer of golf carts, parts, and accessories and is the owner, by assignment, of the ‘860 patent which issued on June 3, 2008. Allshields manufactures and offers for sale its “Cart Armor” windshield as an upgrade or accessory for a variety of golf cart types. Eagle alleges that a number of Allshield’s products infringe at least two claims of the ’860 patent. Defendant’s allegedly infringing products include “Cart Armor” folding windshields with model numbers: 5-500A, 5-510A, 5-520A, 5-100A, 5-110A, 5-300A, 5-310A, 5-320A, 5-330A and other folding windshields bearing model numbers 7-110A and 7-510A.
Above: Images of Allshield’s “Cart Armor” product
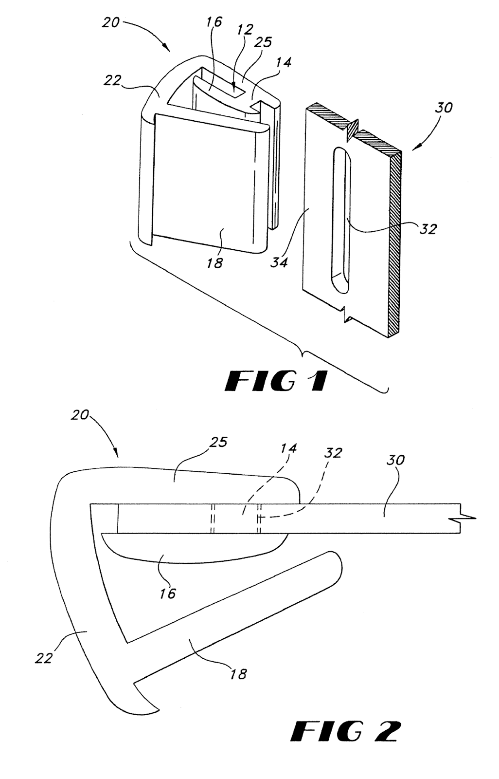
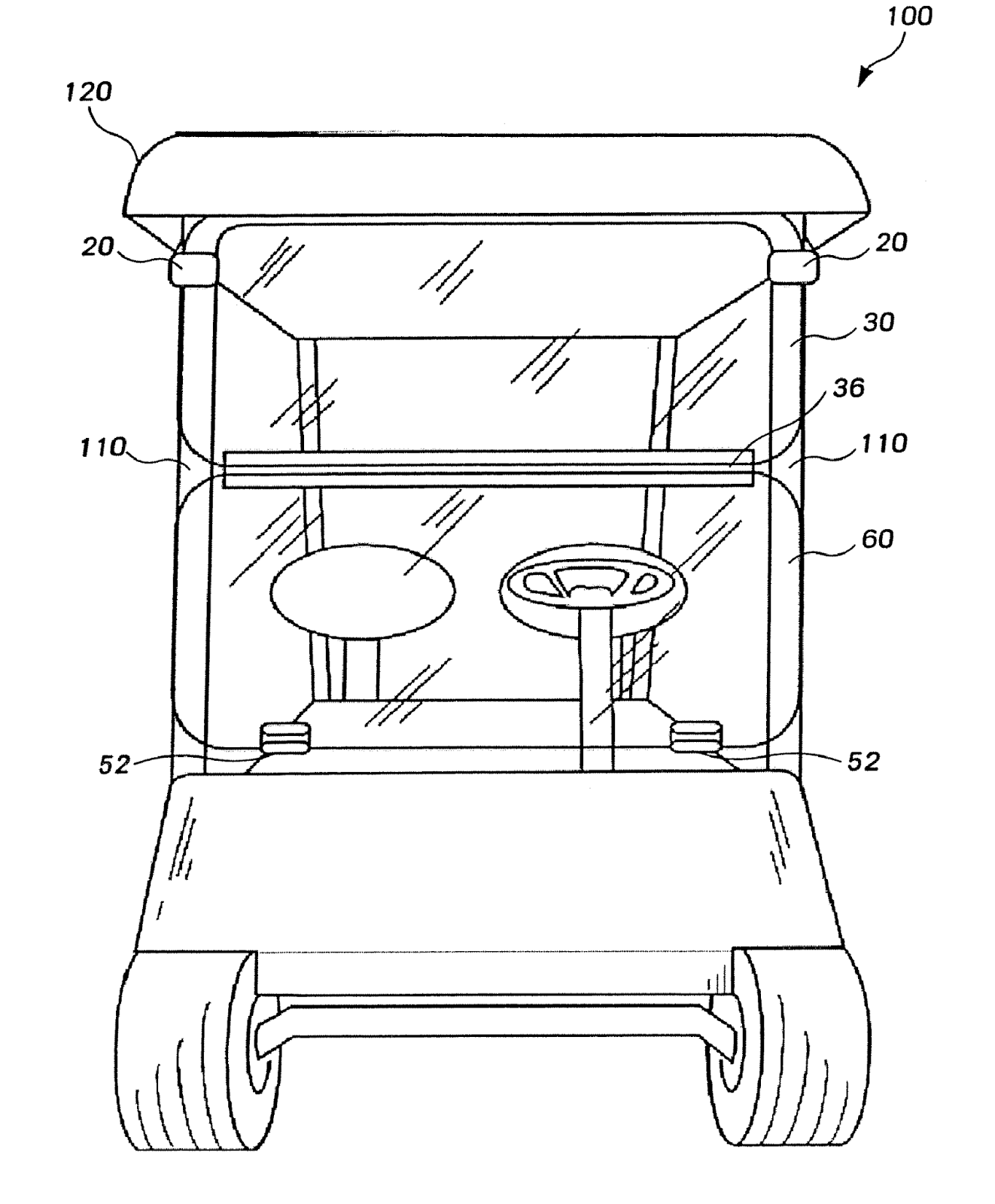
Below: Figs. 1, 2, 5, and 7 of the ’860 patent
Eagle is seeking a ruling that one or more claims of the ’860 patent have been infringed, a permanent injunction, and damages (to be enhanced by a finding of willful infringement), along with costs and attorneys’ fees.
The case is Eagle Parts & Products, Inc. v. Allshields, Inc., Case No. 1:14-cv-00087-JRH-BKE filed in the United States District Court of the Southern District of Georgia, Augusta Division, and is assigned to Judge R. Randal Hall.
Categories: Before 2017







