On December 13, 2013, Bruder Healthcare Company (“Bruder”) of Alpharetta, Georgia filed a complaint against Walgreen Company (“Walgreens”), an Illinois corporation with offices located in Deerfield, Illinois, and BigWall Enterprises Incorporated (“BigWall”), a Texas corporation with offices located in Dallas, Texas. The complaint was filed in the United States District Court for the Northern District of Georgia, Atlanta Division, alleging contributory, induced, and direct patent infringement of United States Patent No. 8,420,882 for a “WOUND AND THERAPY COMPRESS AND DRESSING” (the ‘882 patent).
 |
| Thermalon Brand Moist Heat Back Wrap |
According to the complaint, BigWall sell products under the name “BigWall” as well as under “private label” house brands such as “Walgreens.” The complaint alleges infringement of the ‘882 patent by at least two products that BigWall is or has been allegedly selling to Walgreens, and that Walgreens is or has been allegedly selling to customers in retail stores. The allegedly infringing products include Walgreens Item Number 276655 and 276656 “Moist Heat Back Wrap” and “Moist Heat Neck Wrap” products.
 |
| Walgreens’ Moist Heat Back Wrap |
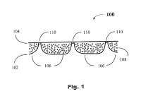
In short, the ‘882 patent discloses an improvement to moist-heat therapy wound dressings and compresses. The invention uses antimicrobial silver to provide a germ and microbial free wound environment that is moist and warm or heated. Heat and moisture both aide healing but create a potential for microbial colonization of a wound. Excessive use of antibiotics can cause allergic reaction and treatment-resistant bacteria. The invention disclosed in the ‘882 patent is thus aimed at addressing the need for a moist, warm or heated dressing or compress that maintains its sterility without excessive use of antibiotics.
 |
| Fig. 1 of the ‘882 patent |
The complaint alleges Walgreens for a time purchased “Thermalon” brand wound and therapy compresses and dressings from Bruder and sold these products in their retail stores. Bruder alleges that these products are covered by the ‘882 patent, and that Walgreens willingly infringed the ‘882 patent by choosing to source the similar Moist Heat Wrap products from BigWall. Accordingly, Bruder is seeking treble damages for the allegedly willful infringement along with an order enjoining future sales of infringing products.
The case is Bruder Healthcare Co. v. BigWall Enterprises, Inc. et al. No. 1:13-cv-04138-SCJ in the United States District Court for the Northern District of Georgia, Atlanta Division, and is assigned to Judge Steve C. Jones.