Energy load devices and methods permit utilities to dial down the amount of electricity used by consumers during peak periods by sending command signals to devices (such as air conditioners) that require large amounts of electricity. By reducing the electrical demand of large consumption appliances during peak periods, energy requirements are balanced over the day resulting in lower charges for the consumer and less generating capacity required of the utility.
The complaint of Comverge filed on February 11, 2013, points out in paragraph 20 that one of the three members of Entek Systems, LLC (“Entek”) was an inventor on two of the three asserted patents, U.S. Patent No. 5,345,225 and U.S. Patent No. 5,576,700. The third asserted patent is U.S. Patent No. 7,606,639, which assets methods and systems claims “for curtailing the energy consumption of an appliance.” The ‘225 Patent claims apparatuses and methods “for monitory current supplied to an electrical load and detecting when an electrical load management device has been disconnected.” The ‘770 Patent claims apparatuses and methods “for controlling an electrical load in an electrical load management system and monitoring the load control operations and energy supplied to the electrical load.”
Direct infringement is asserted against Entek for violation of the apparatus claims and indirect infringement is asserted relating to the method and systems claims. Further, Comverge asserts intentional infringement with the attendant damages related to the ‘225 and ‘700 Patents based on Entek’s knowledge of those patents through its member, Mr. Davis, an inventor on both.
Comverge focuses its infringement assertion against an EnTek switch denominated MC140RAC.
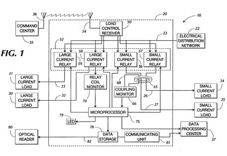
Pictured below is Figure 1 from the ‘225 Patent illustrating a schematic for the preferred embodiment of the invention.
The case is Comverge, Inc. v. Entek Systems, LLC, No. 2:13-cv-0026-WCO, filed 02/11/13 in the U.S. District Court for the Northern District of Georgia, Atlanta Division, assigned to U.S. District Judge William C. O’Kelley
Categories: Before 2017


