Nightmist IP LLC v. Winmate Communication US, Inc., Civil Action No. 1:22-cv-02620-TWT (N.D. Ga. June 30, 2022)
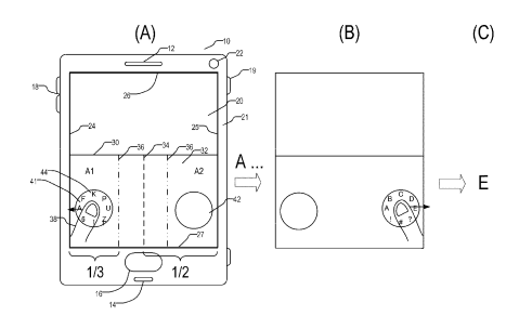
Plaintiff Nightmist IP LLC filed suit against Defendant Winmate Communication US, Inc. on June 30, 2022 in the Northern District of Georgia (Atlanta Division) for infringement of U.S. Patent No. 8,902,179 entitled “Method and Device for Inputting Text Using a Touch Screen.” The ‘179 Patent generally discloses a method for inputting text in a mobile device using a touch screen by inputting a code into the mobile device among a series of candidate codes.

Plaintiffs assert that the ‘179 Patent is not directed to an abstract idea and improve computer functionality / provide a specific solution to address certain deficiencies and “technological faults” with prior art systems identified in the Background section of the Patent, including the “toggle” method most commonly used in the prior art. See Dkt. 1 paras. 25-28. The Complaint alleges that Defendant makes, uses, sells, offers for sale, or imports devices, such as the Winmate L140TG-4 Rugged Tablet, that perform all of the steps recited in at least Claims 1 and 4 of the ‘179 Patent as shown in a claim chart attached to the Complaint as Exhibit B. The Complaint asserts causes of action for direct infringement of the ‘179 Patent either literally or under the doctrine of equivalents in violation of 35 U.S.C. 271 in addition to claims for induced and contributory infringement based on Defendant’s sales of the accused device to customers for use in an infringing manner. Plaintiff seeks a permanent injunction in addition to an award of damages pursuant to 35 U.S.C. 284 and attorney’s fees pursuant to 35 U.S.C. 285. The case has been assigned to Judge Thrash.

