The U.S. District Court for the Northern District of Georgia is but the latest litigation forum chosen by a patentee with a history of filing infringement lawsuits against other organizations in other courts.
On August 17, 2012, Yonkers, New York-based Joao Bock Transactional Systems, LLC (“JBTS”) filed three lawsuits in the Atlanta Division of the Northern District, namely:
(1) Joao Bock Transaction Systems, LLC v. Charles Schwab & Co., Inc., No. 1:12-cv-02857-TWT, currently assigned to Judge Thomas W. Thrash, Jr.;
(2) Joao Bock Transaction Systems, LLC v. Scottrade, Inc., No. 1:12-cv-02858-RWS, currently assigned to Judge Richard W. Story; and
(3) Joao Bock Transaction Systems, LLC v. OptionsHouse, LLC and Peak6 Investments, L.P., No. 1:12-cv-2859-AT, currently assigned to Judge Amy Totenberg.
Each lawsuit alleges infringement of three related patents: U.S. Patent No. 6,047,270 (“the ‘270 Patent”), issued April 4, 2000 and titled “Apparatus and Method for Providing Account Security”; U.S. Patent No. 6,529,725 (“the ‘725 Patent”), issued March 4, 2003 and titled “Transaction Security Apparatus and Method”; and U.S. Patent No. 7,096,003 (“the ‘003 Patent”), issued August 22, 2006 and titled “Transaction Security Apparatus.”
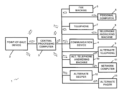
Figure 1 below schematically illustrates the technology disclosed in the asserted patents.
![]() |
|
Figure 1 of ‘270, ‘725, and ‘003 Patents
|
As an example of the disclosed technology, the ‘270 Patent describes an apparatus and method for notifying an account holder, at the time of a point of sale, when that holder’s wireless device or telephone number have been used in an unauthorized manner. A point-of-sale authorization device and a connected a central processing computer communicate either individually or in tandem with a communication device owned by the account holder. Information transmitted to the account holder “may include the name of the store or the service provider, the amount of the transaction, the time of the transaction and the location of the transaction.” The account holder receiving that information may then transmit a signal corresponding to a desired action, such as directing the suspension of use of the card.
The three complaints allege, without limitation, that the following items infringe all three patents: in lawsuit (1), the “Schwab One® Brokerage Account”; in lawsuit (2), the “Scottrade Trading Website”; and in lawsuit (3), “OptionHouse Brokerage 2.0.”
To say that JBTS is not shy about asserting at least one of these patents in the federal court system against multiple defendants would be an understatement. Prior to filing the three above-identified lawsuits, JBTS filed patent infringement complaints in the following civil actions:
1. Joao Bock Transaction Systems, LLC v. Sleepy Hollow Bank and Jack Henry & Associates, Inc., U.S. District Court for the Southern District of New York, No. 3:03-cv-10199 (WWE), filed 12/24/03, asserting ‘725 Patent. Case (“Sleepy Hollow”) terminated by way of judgment against JBTS, explained below.
2. Joao Bock Transaction Systems of Texas, LLC v. AT&T, Inc., Zions First National Bank, The Northern Trust Company, Wells Fargo Bank, N.A., M&I Marshall & Ilsley Bank, Regions Bank, PNC Bank, N.A., Bank of America, N.A., Visa, Inc., American Express Company, Discover Financial Services, JP Morgan Chase & Co., Chase Bank USA, N.A., Citibank, N.A., Lindale State Bank, and Texas National Bank of Jacksonville, U.S. District Court for the Eastern District of Texas, No. 6:09-cv-00208-LED, filed 05/11/09, asserting ‘003 Patent. Case terminated by way of settlements.
3. Joao Bock Transaction Systems of California, LLC v. Cathay Bank, Citizens Business Bank, Pacific Western Bank, Bank of the West, Silicon Valley Bank, East West Bank, Pacific Capital Bank, N.A., Santa Barbara Bank & Trust, First National Bank of Central California, South Valley National Bank, San Benito Bank, First Bank of San Luis Obispo, and West America Bank, U.S. District Court for the Central District of California, No. 2:10-cv-0735-DSF-JEM, filed 09/21/10, asserting ‘270 Patent. Case is currently pending.
4. Joao Bock Transaction Systems, LLC v. USAmeriBank, First Community Bank of America, Everbank, Mercantile Commerce Bank, N.A., CNL Bank, Florida Capital Bank, N.A., Bankfirst, First Southern Bank, Gulfstream Business Bank, International Finance Bank, Regent Bank, and Grand Bank & Trust of Florida, U.S. District Court for the Middle District of Florida, No. 8:11-cv-00887-MSS-TGW, filed 04/22/11, asserting ‘270 Patent. Case is currently pending.
5. Joao Bock Transaction Systems, LLC v. Barrington Bank & Trust Company, N.A., American Chartered Bank, Bridgeview Bank Group, Centrue Bank, Citizens First National Bank, Northbrook Bank and Trust Company, f/k/a First Chicago Bank & Trust, BMO Harris Bank N.A., Hinsdale Bank & Trust Company, Inland Bank & Trust, Lake Forest Bank and Trust Company, Libertyville Bank & Trust Company, North Shore Community Bank & Trust Company, The National Bank, West Suburban Bank, Associated Bank, N.A., First National Bank and Trust Company, Fifth Third Bank, and U.S. Bank National Association, U.S. District Court for the Northern District of Illinois, No. 1:11-cv-06472, filed 09/15/11, asserting ‘270 Patent. Case is currently pending.
Before trial in the Sleepy Hollow case, the parties stipulated to a voluntary dismissal of claims against Sleepy Hollow Bank. However, JBTS proceeded to trial against Jack Henry & Associates, Inc. (“Jack Henry”), asserting that Jack Henry’s “NetTeller online banking product” infringed six claims of the ‘725 Patent. The jury returned a verdict finding not only noninfringement of those six claims, but also that those claims were invalid over cited prior art. Interestingly, the jury also found that Raymond Joao, a named co-inventor on the ‘725 Patent (as well as on the ‘270 and ‘003 Patents), “was not a person of ordinary skill in the art.” In a Judgment entered on July 21, 2010, following post-trial briefing, the U.S. District Court for the Southern District of New York elaborated upon that finding in the paragraph quoted below.
Findings of Fact
2. Raymond Joao is not a person of ordinary skill in the relevant art because he does not have sufficient expertise or background in the relevant fields of online banking, banking operations, computers and internet communications. Mr. Joao is not a person of ordinary skill in the art simply because he is the inventor, see Kimberly-Clark corp. v. Johnson & Johnson, 745 F.2d 1437, 1454 (Fed. Cir. 1984), nor does his education and experience in engineering and computers or his minimal experience with online banking transactions qualify him as a person of ordinary skill in the art of online banking transactions.
Commenting upon the judgment in a website post, defendants’ counsel declared: “[I]n this case, the plaintiff had no intention of ever taking this product to market. He had no knowledge of the software industry and knew nothing about this technology.”
JBTS appealed that judgment to the U.S. Court of Appeals for the Federal Circuit. However, in a decision entered on December 13, 2011, the Federal Circuit affirmed the judgment.
Categories: Before 2017


